欢迎访问山东万辰试验机有限公司官网!
木材抗弯弹性模量的测定:木材受力弯曲时在比例极限应力内,按荷载与变形的关系确定木材抗弯弹性模量。
本试验方案是以GB/T1936.2-2009标准要求为基础的,方案中包含试验的目标,相关试验标准,试样类型及适用与试验应用的典型测试设备。
1、试验的目标
了解木材的力学性能,应用工程师方便选材,达到产品设计最优化。
特性参数是:
抗弯弹性模量
2、相关试验标准:
GB/T 1936.2-2009 木材抗弯弹性模量测定方法
GB/T 1928-2009 木材物理力学试验方法总则
GB/T 1929-2009 木材物理力学试材锯解及试样截取方法
GB/T 1931-2009 木材含水率测定方法
3、试样类型:矩形横截面试样长*宽*厚: 300*20*20mm
4、适用于试验应用的典型测试设备:
4.1试验设备
试验设备标准配置:主机+夹具+附件
主机:电子万能试验机
电子万能试验机
夹具:我们推荐使用弯曲夹具进行试样测试
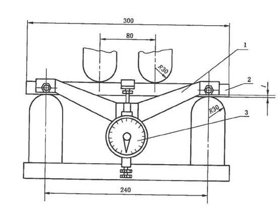
木材弯曲夹具示简介:
夹具名称:木材四点弯曲夹具
最大试验力:10kN
压头最大跨距:200mm压座最大跨距:400mm,可用试样最大宽度:80mm,压头半径:R30mm,支辊半径:R30mm
附件名称:瑞士进口数显千分表

4.2试样的制备仪器: 加工
矩形试样


微信客服

微信公众号
Copyright 山东万辰试验机有限公司 鲁ICP备14026932号
15550432072
