欢迎访问山东万辰试验机有限公司官网!
木材顺纹抗剪强度试验:由试验机加压方式形成的剪切力,使试样一表面对另一表面顺纹滑移,以测定木材顺纹抗剪强度。
本试验方案是以GB/T1937-2009标准要求为基础的,方案中包含试验的目标,相关试验标准,试样类型及适用与试验应用的典型测试设备。
1、试验的目标
了解木材的力学性能,应用工程师方便选材,达到产品设计最优化。
特性参数是:
顺纹抗剪强度
2、相关试验标准:
GB/T1937-2009 木材顺纹抗剪强度试验方法
电子万能试验机
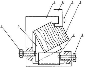
夹具:我们推荐使用木材顺纹抗剪夹具进行试样测试
1-夹具主体 2-楔块 3-L形垫块 4、5-螺杆 6-压块 7-试样 8-圆头螺钉
木材顺纹抗剪夹具简介:
夹具名称:木材顺纹抗剪夹具
最大试验力:10kN
4.2试样的制备仪器: 加工
试样


微信客服

微信公众号
Copyright 山东万辰试验机有限公司 鲁ICP备14026932号
15550432072
